Beschreibung
· Großer Verstellbereich
· Flexibel einsetzbar
· Anwendungsgebiete: Maschinenbau, Werkzeugbau, Vorrichtungsbau
· Zum Spannen von beliebigen Werkstücken und Bauteilen
Werkstoff:
Vergütungsstahl oder EN AW-7022.
Ausführung:
lackiert, Aluminium blank.
Hinweis:
Beim Einsatz von Kegelpfannen 07420 ist die Form G zu verwenden.
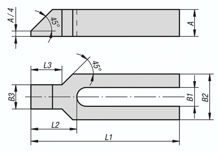
Spezifikationen
Ausführung 1
gabelförmig
Material Grundkörper
Vergütungsstahl
Benennung
Spanneisen
B2
70
für Schraube
M24
B1
26
B3
43
L1
315
L2
83
A
40
L3
56
Gewicht
4,3 KG





