Beschreibung
· Für ein schnelles und einfaches Verbinden von Maschinenteilen und Werkstücken
· Anwendungsgebiete: Maschinenbau, Gerätebau, Vorrichtungsbau, Messtechnik, Haushalt
· Einfache Handhabung
· Axiale Positionssicherung über einen im Griff integrierten Magneten
Werkstoff:
Griff Thermoplast.
Stahlteile Edelstahl 1.4305.
NdFeB Magnet.
Ausführung:
Griff schwarz.
Edelstahl blank.
Hinweis:
Die Steckbolzen mit magnetischer Axialsicherung dienen zum schnellen und einfachen Fixieren und Verbinden von Teilen und Werkstücken.
Über einen im Griff integrierten Magneten wird eine axiale Positionssicherung gewährleistet und der Steckbolzen somit in Einsteckposition gehalten.
Glatte Oberflächen und eine dazu senkrecht angeordnete Steckbohrung wirken sich positiv auf die Haltekräfte aus.
Über optionale Haltesysteme können die Steckbolzen unverlierbar gesichert werden.
Scherkraft zweischnittig (F) = S A t aB max.
Auf Anfrage:
Weitere Bolzenlängen.
Zubehör:
Sicherungs-Spiralkabel 03199....
Halteseile mit Öse 03199....
Schlüsselring 03199
Kugelketten 96390....
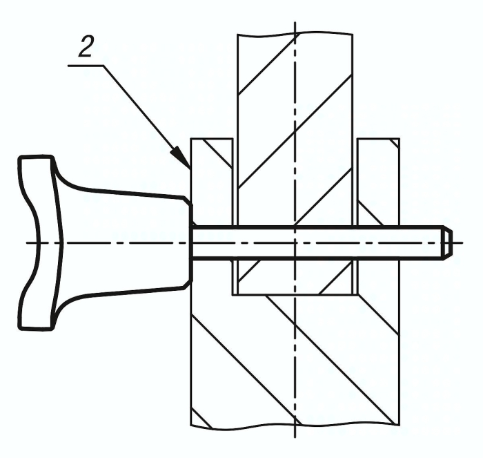
Zeichnungshinweis:
1) Magnet
2) magnetisches Teil / Werkstück
Spezifikationen
Ausführung 1
mit Pilzgriff
D
45,9
Material Grundkörper
Edelstahl
Benennung
Steckbolzen
D1
10
B
33
D2
26,3
L3
31,3
Aufnahme- bohrung
10
Haltekraft ca. N
74
L5
50
Scherkraft zweischnittig max. kN
60
L2
39,5
Gewicht
0,075 KG





