Beschreibung
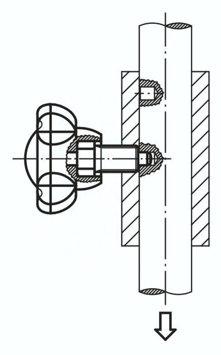
· Arretierbolzen (Rastbolzen) ermöglichen ein Feststellen und Einrasten
· Anwendungsgebiete: Maschinenbau, Gerätebau, Vorrichtungsbau, Messtechnik, Haushalt
· Hohe Stabilität
· Verschiedene Farbvarianten
Werkstoff:
Thermoplast.
Arretierstift bzw. Gewindebolzen aus Stahl 5.8.
Ausführung:
Griff schwarzgrau.
Arretierstift bzw. Gewindebolzen brüniert.
Arretierstift gehärtet und geschliffen.
Hinweis:
? An dieser Stelle die gewünschte Deckelfarbe anfügen.
Bei der Deckelfarbe schwarzgrau ist kein Farbcode erforderlich.
Spezifikationen
Ausführung 1
ohne Rastnut
Material Grundkörper
Thermoplast
Benennung
Arretierbolzen
Gewicht
0,036 KG






