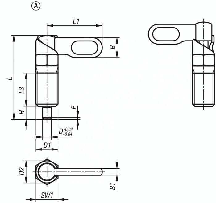
Beschreibung
· Für alle Arten von Verriegelungen und Fixierungen einsetzbar
· Durch Drehen des Riegels um 180° wird die Verriegelung aufgehoben
· 180°-Anschlag verhindert erneutes Ausfahren des Arretierstiftes
· Rastkerbe für das Halten der Stellung
Werkstoff:
Edelstahl 1.4305.
Ausführung:
blank. Arretierstift geschliffen, nicht gehärtet.
Hinweis:
Sperrriegel werden eingesetzt, wenn der Arretierstift zeitweise nicht vorstehen darf. Durch Drehen des Riegels um 180° wird der Arretierstift eingezogen.
Eine Rastkerbe bewirkt, dass der Riegel in dieser Stellung gehalten wird.
Durch einen 180°-Anschlag wird das Überspringen der Rastkerbe und somit ein erneutes Ausfahren des Arretierstiftes verhindert.
Mit Auswahl der Anschlagseite wird die Drehrichtung des Riegels definiert.
Zeichnungshinweis:
1) Anschlag links
2) Anschlag rechts
Spezifikationen
Ausführung 1
mit Anschlag
D
12
Material Grundkörper
Edelstahl
Benennung
Sperrriegel
L
70,0
Form
A
Ausführung 2
Links
D1
M20x1,5
B
18,0
D2
20
H
12
L1
50
Federkraft Anfang F1 ca. N
20
L3
30
Federkraft Ende F2 ca. N
60
B1
6,0
SW1
20
F x 30°
3,0
Gewicht
0,15 KG





