Beschreibung
· Dienen als Auflage, Anschläge und Druckstücke
· Anwendungsgebiete: Maschinenbau, Vorrichtungsbau, Montage
· Kugel gegen Verdrehen gesichert
· Ausführung: Stahl oder Edelstahl
Werkstoff:
Stahl oder Edelstahl.
Ausführung:
Stahlausführung:
Gehäuse vergütet und manganphosphatiert.
Mutter brüniert.
Edelstahlausführung:
Gehäuse vergütet und elektrolytisch poliert.
Mutter blank.
Hinweis:
Die Kugel ist gegen Verdrehen gesichert.
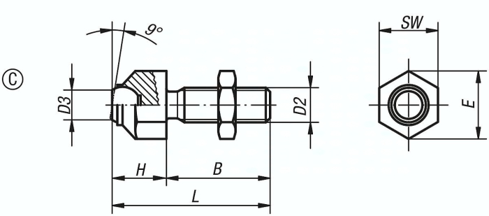
Spezifikationen
Material Grundkörper
Stahl
Benennung
Pendelauflage
L
45,7
Form
C
B
30
D2
M10
D3
8,6
H
15,7
E
19,0
Belastbarkeit max. kN (nur bei statischer Belastung)
8
Kugel-Ø
12,0
SW
17
Gewicht
0,047 KG




